

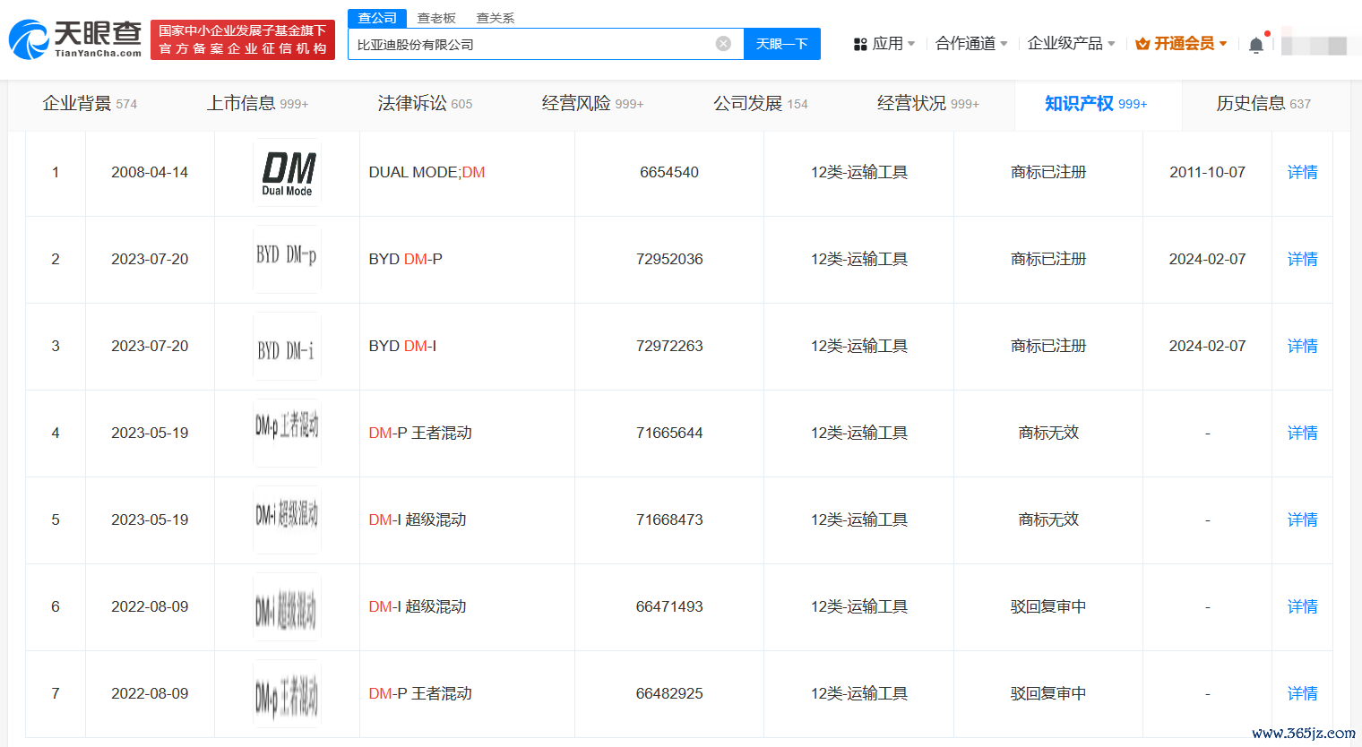
南方财经5月29日电,5月28日晚,比亚迪第五代DM混动技术发布,首搭于全新的秦L DM-i和海豹06 DM-i两款车型上。据介绍,比亚迪第五代DM混动技术百公里亏电油耗仅2.9L。天眼查App显示,今年2月线上十大实盘配资公司,比亚迪股份有限公司已成功注册运输工具类“BYD DM-i”“BYD DM-p”商标,2枚商标均申请于去年7月。值得一提的是,此前该公司曾申请“DM-i 超级混动”“DM-p 王者混动”商标,但均被驳回。此外,比亚迪首次推出DM混动系统车型的2008年,该公司即申请了运输工具类“DM Dual Mode”商标,该商标于2011年成功注册。

